- SSR, управление твердотельными реле
- Р, реле: ~5 А, 250 В
- DIN-рейка
- щитовой
На сайте отображены не все возможные конфигурации товара доступные для заказа через корзину. Если Вы не нашли необходимый вариант, пожалуйста, свяжитесь с нами по электронной почте, WhatsApp или Telegram для уточнения наличия и стоимости.
Прибор для контроля уровня проводящих жидкостей (воды, химических растворов и т. п.) в колодцах, коллекторах и других емкостях. Может применяться для автоматического заполнения или осушения резервуара, бака, приямка и т. д.
- Максимальное количество контролируемых уровней: 2
- Входные сигналы: кондуктометрические зонды, датчик типа «сухой контакт»
- Выход: базовое исполнение – реле, опциональное исполнение – управление твердотельным реле
- Светодиодная индикация состояния реле
- Колодка PF083A в комплекте
- Монтаж: настенный, на DIN-рейку, в щит (с помощью КМЩ-54)
Контроллер уровня ОРДИНАР-М предназначен для контроля уровня проводящих жидкостей (воды, химических растворов и т. п.) в колодцах, коллекторах и других емкостях. Может применяться автоматического заполнения или осушения резервуара, бака, приямка и т. д.
Технические характеристики:
| Параметр | Значение | |
| Входные сигналы |
Кондуктометрические зонды, датчик типа «сухой контакт» |
|
| Управляющий выход |
Базовое исполнение: реле ~5 А, 250 В Опционально возможное исполнение: SSR – управление твердотельным реле =40 мА, 12 В (ARC-SSR-...DA и ARC-3SSR-...DA) |
|
| Питание | ~220 В ± 10%, 50/60 Гц | |
| Защита | IP40 | |
| Монтаж | на DIN-рейку или щитовой (с помощью крепежа КМЩ-54) | |
| Габаритные размеры | 58×37×27 мм | |
| Вес | 144 г | |
Габаритные размеры:
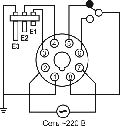
Схема подключения:

Онлайн:
Добавьте товары в корзину и оформите заказ следуя инструкциям на экране.
Через онлайн-консультанта:
В рамках рабочего времени, воспользуйтесь функцией On-Line консультанта на сайте. Предварительно подготовьте необходимые данные для оформления заказа и доставки.
После оформления заказа
Обработка заказа:
- В среднем, заявки обрабатываются в течении 1-3х часов в рамках рабочего времени (время может варьироваться в зависимости от загруженности менеджеров).
- Заявки, поступившие после 15:00 (МСК) текущего рабочего дня, будут обработаны в следующий рабочий день.
Возможно, менеджеру придется связаться с Вами, для согласования деталей. Пожалуйста, оставайтесь на связи.
Выставление платежных документов
После проверки наличия заказанных позиций на складах и их резервирования, в Ваш адрес будут отправленны счет или квитанция (для частных лиц) для оплаты заказа.
Внимание!
Условия оплаты и доставки, а также сроки отгрузки указываются в выставляемых на оплату документах. Обращайте внимание на условия указанные для Вас!
- Оплата в любом банке, по предварительно выписанной квитанции.
- Онлайн-оплата квитанции, в т.ч. Сбербанк-онлайн и прочие.
- Наличный расчет и оплата картой (Visa, MasterCard, МИР) в пункте самовывоза (только для Ростова-на-Дону)
- Перечисление средств по предварительно выписанному счету. По требованию клиента поставка сопровождается договором купли-продажи.
Условия оплаты и доставки, а так же сроки отгрузки указываются в выставляемых на оплату документах. Обращайте внимание на условия, указанные для Вас!
Доставка заказов осуществляется до терминала транспортной компании в вашем населенном пункте (наличие терминалов уточняйте на сайте ТК). По прибытии заказа в терминал, Вы можете заказать курьерскую "доставку до дверей".
Оплата услуг доставки осуществляется при получении заказа.
Доставка до грузового терминала ТК в пункте отправления (г. Ростов-на-Дону) осуществляется бесплатно! Вы оплачиваете только услуги междугородной перевозки.
Стоимость доставки Почтой России рассчитывается индивидуально и включается в счет/квитанцию.
Выдача товара осуществляется рабочие дни со склада в г. Ростов-на-Дону, по предварительному согласованию с менеджером.
г. Ростов-на-Дону, 2-я Краснодарская 147/2
Пн-Чт: 9:00 - 16:30 Пт: 9:00 - 15:30
Внимание!
Условия оплаты и доставки, а также сроки отгрузки указываются в выставляемых на оплату документах. Обращайте внимание на условия указанные для Вас!
