- AC 220В
- DC 24В
- кронштейн
- площадка под винты
- универсальное крепление
- да
- нет
На сайте отображены не все возможные конфигурации товара доступные для заказа через корзину. Если Вы не нашли необходимый вариант, пожалуйста, свяжитесь с нами по электронной почте, WhatsApp или Telegram для уточнения наличия и стоимости.
Прибор для визуальной или визуально-звуковой сигнализации состояния процессов и технологического оборудования.
- Цвет: красный, зеленый, желтый
- От 1 до 5 ламп (уровней)
- Диаметр лампы: 50 мм
- Питание: ~220 В, ≅24 В
- Сирена громкостью 85 дБ подключается независимо от световой сигнализации и может быть использована как отдельно, так и совместно с визуальной индикацией (только для БСС-205-С)
- Крепление: кронштейн, площадка под винты или универсальная поворотная ножка
- Степень пылевлагозащиты IP40
Многоуровневые сигнальные светодиодные лампы предназначены для использования в помещениях, позволяют контролировать технологические процессы с помощью световой и звуковой индикации.
Сигнальные лампы БСС-205 – круглого сечения с одной, двумя, тремя, четырьмя или пятью светодиодными секциями красного, зеленого, желтого, синего и белого цветов. Конструктивно каждый световой сегмент представляет собой 4 платы управления, расположенные по кругу, с припаянными к ним светодиодами (рис. 1, рис. 2).
Области применения:
- Станки и конвейеры
- Автоматические ворота и шлагбаумы
- Индикация уровня заполнения в бункерах и резервуарах


Рис. 1 — светодиоды на плате управления (питание выключено)* Рис. 2 — светодиоды на плате управления (питание включено)*
* На рисунках 1 и 2 изображена модель БСС-205-3.
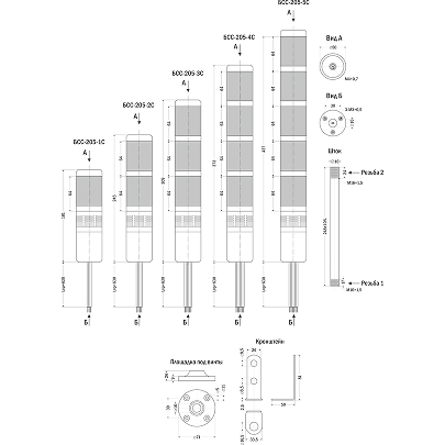
Габаритные размеры:

Модели без сирены

Модели без сирены

Модели с сиреной

Модели с сиреной
Технические характеристики:
| Параметр | БСС-205-1(С) | БСС-205-2(С) | БСС-205-3(С) | БСС-205-4(С) | БСС-205-5(С) |
| Количество уровней | 1 | 2 | 3 | 4 | 5 |
| Цвет | Красный | Красный и зеленый |
Красный, желтый и зеленый |
Красный, желтый, зеленый и синий |
Красный, желтый, зеленый, синий и белый |
| Высота уровня |
64 мм |
||||
| Диаметр лампы |
50 мм |
||||
| Режим работы |
Постоянное свечение |
||||
| Питание |
≅24 В или ~220 В |
||||
| Громкость сирены |
85 дБ |
||||
| Крепление |
Площадка под винты, кронштейн или универсальная поворотная ножка |
||||
| Степень пылевлагозащиты |
IP40 |
||||
| Температура эксплуатации |
−10...+45°С |
||||
| Высота в сборе с площадкой под винты/с кронштейном |
Без сирены |
||||
| 357/355 мм | 421/419 мм | 485/483 мм | 549/547 мм | 613/611 мм | |
|
С сиреной |
|||||
| 418/416 мм | 482/480 мм | 546/544 мм | 610/608 мм | 674/672 мм | |
Онлайн:
Добавьте товары в корзину и оформите заказ следуя инструкциям на экране.
Через онлайн-консультанта:
В рамках рабочего времени, воспользуйтесь функцией On-Line консультанта на сайте. Предварительно подготовьте необходимые данные для оформления заказа и доставки.
После оформления заказа
Обработка заказа:
- В среднем, заявки обрабатываются в течении 1-3х часов в рамках рабочего времени (время может варьироваться в зависимости от загруженности менеджеров).
- Заявки, поступившие после 15:00 (МСК) текущего рабочего дня, будут обработаны в следующий рабочий день.
Возможно, менеджеру придется связаться с Вами, для согласования деталей. Пожалуйста, оставайтесь на связи.
Выставление платежных документов
После проверки наличия заказанных позиций на складах и их резервирования, в Ваш адрес будут отправленны счет или квитанция (для частных лиц) для оплаты заказа.
Внимание!
Условия оплаты и доставки, а также сроки отгрузки указываются в выставляемых на оплату документах. Обращайте внимание на условия указанные для Вас!
- Оплата в любом банке, по предварительно выписанной квитанции.
- Онлайн-оплата квитанции, в т.ч. Сбербанк-онлайн и прочие.
- Наличный расчет и оплата картой (Visa, MasterCard, МИР) в пункте самовывоза (только для Ростова-на-Дону)
- Перечисление средств по предварительно выписанному счету. По требованию клиента поставка сопровождается договором купли-продажи.
Условия оплаты и доставки, а так же сроки отгрузки указываются в выставляемых на оплату документах. Обращайте внимание на условия, указанные для Вас!
Доставка заказов осуществляется до терминала транспортной компании в вашем населенном пункте (наличие терминалов уточняйте на сайте ТК). По прибытии заказа в терминал, Вы можете заказать курьерскую "доставку до дверей".
Оплата услуг доставки осуществляется при получении заказа.
Доставка до грузового терминала ТК в пункте отправления (г. Ростов-на-Дону) осуществляется бесплатно! Вы оплачиваете только услуги междугородной перевозки.
Стоимость доставки Почтой России рассчитывается индивидуально и включается в счет/квитанцию.
Выдача товара осуществляется рабочие дни со склада в г. Ростов-на-Дону, по предварительному согласованию с менеджером.
г. Ростов-на-Дону, 2-я Краснодарская 147/2
Пн-Чт: 9:00 - 16:30 Пт: 9:00 - 15:30
Внимание!
Условия оплаты и доставки, а также сроки отгрузки указываются в выставляемых на оплату документах. Обращайте внимание на условия указанные для Вас!
